Page 1 of 9
Оптодрайверы для DRSSTC
Posted: 26 Oct 2012, 20:01
by misterio
открываю тему про создание оптодрайверов для моей DRки.
я тут думал какими должны быть оптодрова. по идее их надо делать изолированными от всего чего только можно и от UTC особенно. но есть и другие варианты...
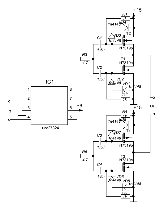
пока накидал прикидочную схему:
разбираем по порядку:
верхняя часть собсно драйвер затвора.
на входе оптрон. пока заложил свой, но если найду где недорого взять ACPL-P343 возьму его. хотя разницы наверное и не заметиш.
с питанием оптрона есть делема. по идее он может питаться от того же источника что и выходные транзисторы и врядли будет кашлять. тем более обвязать его конденсатором не проблема. но по идее можно ему и отдельный стабилитрон поставить. вопрос что это даст и надо ли оно вообще?
далее идут цепи формирования дедтайма. без них нехочу. сквозняк будет срать в питание, от сюда будет звон в затворах и вообще во время сквозняка что будет на затворах силовухи неизвестно. разводить срач нам не надо.
вопрос только как подобрать сопротивление резистора? пока заложил 5.1 Ом от балды. но затворы будут легкие, не маловато ли?
далее собсно транзисторы. обвязка по схеме Стива не нужна нафиг. транзисторы в SOICе не хочу. нет им доверия. а в из других корпусов FDD8424 найти проще всего. и они самые мощные. вот пусть они и будут. (если конечно они не будут стоить запредельных денег. тогда можно будет и попроще что нить поискать).
в обвязке транзисторов ессно керамика. емкости 10мкФ наверное сильно дофига на один то затвор... наверное можно и поменьше поставить. главное качество. а вот с этим вопрос. как выбрать эти конденсаторы?
я вот смотрю например тут
http://www.elitan.ru/price/param_search ... ype=smccap есть керамика на 10мкФ 25В по цене от 14 до 76 рублей за штуку. в чем меж ними разница? и какой выбрать?
на выходе стоит резистор R5. не знаю нужен ли он будет и какой номинал взять... без него не будет ли звона? мож поставить что нить вроде 2.2 Ом?
далее. нижняя часть - изолированное питание.
проще всего конечно было бы незапариваясь использовать IXDNы и задрайвить ими небольшой трансик с 4 обмотками. но я признаться чето оченно на них обижен и прям таки ооооочень хочу полностью отказаться от использования IXDNов где бы то нибыло. недай бог они вздумают сгореть (пусть даже оправданно и на то будет причина) и мне опять придется тащить их из америки... брррр. ужость. нафиг нафиг.
по идее запитывать преобразователь от UTC не шибко здраво... но тогда в UTC будет простаивать без дела 18В стабилизатор, а мне придется еще один трансформатор искать и как то вмещать его в тумбочку ибо на том что есть уже все занято.
я предусмотрел фильтр на входе, и обвязку керамикой для всего что генерирует помехи. плюс преобразователь будет тихомирно молотить а злостные дрючки с драйверов затворов через трансформатор и фильтр будут слабо срать в UTC. а стабилизатор 18В поставить на теплоотвод не проблема.
я еще подумаю но наверное так оставить все же можно.
схема вообще довольно дурацкая, но простая и работать должна вроде. и мне нравится что детали везде будут одинаковые. меньше гемора с доставабельностью.
оптрон стоит потому что их у меня есть а каких нибудь UCCх нет. да и пусть будет дополнительная развязка от UTC.
на вход оптрона предполагается подать сигнал с какого нить дополнительного выхода UTC. думается мне это не будет проблемой.
по идее нет ни чего сложного сделать генератор свой и не озадачивать UTC но так можно будет управлять преобразователем. UTC может включать его когда оно надо, и он не будет молотить постоянно. хотя мож оно и нафиг не надо... поставить 555 таймер и не ипать мосх... как будем делать то, Сергей?
далее. тут тоже есть цепи формирования дедтайма. и их тоже надо подбирать. и здесь я крайне нехочу даже малейшего сквозняка. а не шибко быстрое переключение и может даже какая пауза - не сильно критичны. так что по идее тут резисторы можно ставить поболее. только я все равно не знаю как их подобрать кроме экспериментального способа. но мне не где купить керамику у себя и раз уж все равно заказывать с интернета придется то можно сделать все на SMD, но и резисторов SMDшных у нас не продают так что их заказывать надо сразу.
вот. ну а в остальном вроде все просто и понятно.
жду пинков и советов как и что переделать и где я идиот

Re: Оптодрайверы для DRSSTC
Posted: 26 Oct 2012, 20:07
by Qic
А если не цепочки RD для деадтайма, а вот так, как делает Василий с флайбэка?
Re: Оптодрайверы для DRSSTC
Posted: 26 Oct 2012, 20:43
by misterio
интересное решение. первая пара сквозит но резистор ограничивает сквозняк, а вторая пара пока сквозит первая находится в дедтайме. странно что я его ни когда раньше не видел... почему все не используют его? может есть подводные камни? RD цепочки проверенный вариант и не очень хотелось бы спроектировать все, собрать а потом выяснятся сюрпризы и опять ждать...
и еще... а если первая пара сквозит дюже мало по времени а вторая тормознутая, то времени дедтайма для второй пары может и не хватить по идее...
были бы под рукой планируемые транзисторы можно было бы экспериментально все проверить... ладно. подумаю.
Re: Оптодрайверы для DRSSTC
Posted: 26 Oct 2012, 20:57
by Qic
"почему все не используют его?" я если посижу столько случаев найду под эту фразу, что читать будет впадлу.
Потому что люди, потому что популярно, потому что так принято, потому что консерватизм.
Сам не пробовал, честно. Но этот товарищ пользует во всю и везде, притом не жалуясь. Эта обрезка из полной схемы драйвера. Привожу.
Re: Оптодрайверы для DRSSTC
Posted: 26 Oct 2012, 22:34
by misterio
такс. я тут нашел проблему в моей схеме.
на затворе Q1.1 будет либо -18 либо -36В относительно истока. выходит что он вообще не закрывается никогда да еще и овервольтаж по затвору будет...
Re: Оптодрайверы для DRSSTC
Posted: 26 Oct 2012, 23:29
by misterio

обвязка Стива пригодилась

Re: Оптодрайверы для DRSSTC
Posted: 27 Oct 2012, 09:58
by misterio
еще немного поправил схему.
решил попробовать бороться со сквозняком по схеме предложенной Qiс, но на плате сделаю места и под привычные RD цепочки. можно будет выбирать что запаять.
что касается номиналов резисторов в RD чепочках - наверное я их закуплю сразу кучу разных они все равно копейки стоят и буду экспериментировать.
Re: Оптодрайверы для DRSSTC
Posted: 27 Oct 2012, 10:58
by BSVi
ему и отдельный стабилитрон поставить. вопрос что это даст и надо ли оно вообще?
Думаю, что не нужно.
далее идут цепи формирования дедтайма
Есть еще один вариант от eclipso.

- drv.gif (10.7 KiB) Viewed 30976 times
У него есть преимущество - он меньше задерживает сигнал, чем RC цепочки. Недостатков два - нужно подобрать количество диодов и при выключении драйвера становятся в высокоимпедансное состояние.
вопрос только как подобрать сопротивление резистора? пока заложил 5.1 Ом от балды. но затворы будут легкие, не маловато ли?
У меня получалось порядка 15 ом, тут нужно подбирать.
вот с этим вопрос. как выбрать эти конденсаторы?
По большему счету, ставь любые. Не хватит - налепишь сверху еще один.
на выходе стоит резистор R5. не знаю нужен ли он будет и какой номинал взять... без него не будет ли звона?
Звон без него обязательно будет, резистор нужно будет подбирать. Кроме резистора неплохо бы предусмотреть место под диод.
плюс преобразователь будет тихомирно молотить
поставить 555 таймер и не ипать мосх... как будем делать то, Сергей?
Я бы делал преобразователь на ir2153 + два мелких транзистора. В любом случае, неплохо бы подвести в драйвера питание, и не только для преобразователей, но и для усилителей CMR (про них дальше).
почему все не используют его?
"Все" используют драйвер Стива, потому, что он выдает 24 вольта при 9 на затворах, тоесть ,сдвигает уровни. Если уровни сдвигать не нужно, как у тебя, то можно и тот драйвер использовать.
И еще, небольшие замечания:
У тебя нигде не стабилизируются напряжения на шинах питания. В принципе, и так работать будет, но неплохо бы хотябы по паре стабилитронов прилепить, чтобы срезать лишнее напряжение.
R4 должен быть притягивать эмиттер к коллектору, а не к шине питания, у тебя на старте там будет непонятно что.
Раз уж делать развязанные драйвера, я бы делал все драйвера развязанными. Нет ничего хорошего в подключении силовой земли к контроллеру.
Да, есть еще такая штука - CMR (при большой скорости переключения, напруга из выхода может пролезать на вход у этих оптодрайверов). Дак вот, чтобы оно было большое, нужно делать примерно как
вот тут на странице 18. Если честно, не хнаю, насколько оно нужно. Плисина со защищена буферром в UTC, по идее и так должно работать, но чем черт не шутит.
Re: Оптодрайверы для DRSSTC
Posted: 27 Oct 2012, 12:05
by misterio
вариант от eclipso
...
У него есть преимущество - он меньше задерживает сигнал, чем RC цепочки.
у нас же компенсация в UTC значит это преимущество несущественно. а недостатки ну нафиг. оставлю наверное RD цепочки и нефиг париться.
вот с этим вопрос. как выбрать эти конденсаторы?
По большему счету, ставь любые. Не хватит - налепишь сверху еще один.
это ты про емкость? емкости хватит. но надо чтоб эта керамика могла большой ток в импульсе отдать. от ее импульсных характеристик будет зависеть крутизна фронта на затворах силовухи.
на выходе стоит резистор R5. не знаю нужен ли он будет и какой номинал взять... без него не будет ли звона?
Звон без него обязательно будет, резистор нужно будет подбирать. Кроме резистора неплохо бы предусмотреть место под диод.
нет проблем. правда нафига он в оптике с нормальным дедтаймом... но пусть будет.
и надо еще учитывать что у меня в транзисторах уже есть встроенные резисторы по 2 Ом.
Я бы делал преобразователь на ir2153 + два мелких транзистора, если совсем не хочется питаться от IXDNов
...
Раз уж делать развязанные драйвера, я бы делал все драйвера развязанными. Нет ничего хорошего в подключении силовой земли к контроллеру.
не хотелось связываться с сетевым импульсником. но наверное все таки действительно стоит.
У тебя нигде не стабилизируются напряжения на шинах питания. В принципе, и так работать будет, но неплохо бы хотябы по паре стабилитронов прилепить, чтобы срезать лишнее напряжение.
ок. супрессоры по 18В поставлю.
R4 должен быть притягивать эмиттер к коллектору, а не к шине питания, у тебя на старте там будет непонятно что.
чето я в ступоре. эмиттер к коллектору? наверное затвор IGBT к эмитеру?

тут я да, невнимательно рисовал.
про CMR понял. сделаю как рекомендуется.
в общем пока вот так:

все верно?
P.S. пошел курить на тему импульсников.
Re: Оптодрайверы для DRSSTC
Posted: 27 Oct 2012, 13:31
by BSVi
это ты про емкость?
Да и про емкость и про импеданс. Вся керамика более-менее не плохая по импедансу, если не хватит, можно параллелить.
правда нафига он в оптике с нормальным дедтаймом
Для подавления миллера трназисторы обычно включат медленно, а выключают быстро. Так как у тебя очень "миллерные" трназисторы, имеет смысл место под диод предусмотреть. Будет ли он использоваться - это другое дело.
не хотелось связываться с сетевым импульсником.
Дак и не нужно с сетевым! Я имел ввиду, что ir2153 работает от 18, или от 24, или от скольки там у тебя. Совсем не обязательно ее от сетевого питать.
наверное затвор IGBT к эмитеру?
Естественно
в общем пока вот так:
Вот сейчас смотрю на этот тразистор анти CMRный и думаю, как через это пройдет сигнал и не будет ли на затворах выброса при включении питания. По идее, быть не должно, но ты перепроверь.
Кстате, биполярник намного лучше заменить логикой (74ac05 или 74hc05). Подобная схема есть
вот тут, рис 25).
Имеем два подхода. Первый - с балансировкой вытекающих токов. Второй полагается на шунтирование светодиода. Так как второй от твоего драйвера, я бы использовал именно его, потому, что соотношение разисторов 1.5 явно взято из конструкции микросхемы, которая у тебя скорее всего, не такая.
А так - больше я существенных недостатков не вижу.
Кстате, твой транзистор открывается за 80нс минимум, значит, CM у тебя будет 350/80 = 4.3кВ/мкс. Не так и много, чтобы сильно перебирать обвязкой оптопары.
Re: Оптодрайверы для DRSSTC
Posted: 27 Oct 2012, 15:16
by misterio
ну нафиг. лучше перебздеть чем недобздеть.
что касается питания. я уже весь мосх сломал. ни как не могу определиться. питаться от UTC - коряво. питаться от той же обмотки трансформатора что и UTC тоже коряво. на том трансформаторе что у меня сейчас стоит места уже нет. намотан подзавязку. и плюс у меня еще нет изолированного питания для индикации. сейчас временно используется китайский зарядник от телефона

теперь я склоняюсь к нормальному импульснику со стабилизацией и защитами от которого будет запитано все. тогда я выкину нафиг железный транс, плату БП 12В, не придется думать питание для индикации, оптодрова запитаются стабилизированным напряжением, и UTC тоже.
это получается где то так надо:
30В 0.5А - для UTC
4 x 18В 0.5А - для оптодров
12В 1А для релюшки и вентиляторов
12В 1А для индикации
итого 7 каналов. токи я конечно взял с запасом. итого общая мощность должна быть Ватт 50 что б наверняка.
посмотрел инет на предмет схемок - голова идет кругом, не знаешь что выбрать. мне кажется наиболее оптимально собрать импульсник на спец микрухе в которой будет и ключ сразу. так мы получаем все фишки сразу и схема не слишком сложная. если подобрать нормальную микруху то будет и защита от КЗ и от перегрева и стабилизация нормальная, и не надо внешних ключей.
заманчиво выглядят схемки на TNYxxx. но самая мощная - 20Вт. мне не подходит. другие микросхемы требуют доп. обмотки на трансформаторе. но деваться некуда.
но один фиг как выбрать из огромного многообразия одинаковых навид микросхем? и потом проблема будет с расчетом. как расчитать транс наприме. я х.з. ни когда не занимался проектированием импульсных сетевых БП... и мне кажется что толковый импульсник который будет гарантированно надежно работать спроектировать весьма не просто. там есть миллион мест где можно накосячить, в том числе выбор комплектухи и разводка платы.
мож кто работал с какой нить микрухой и сможет подсказать? или мож готовые схемки где нить попадались.
у меня на работе валяются два частотных преобразователя из которых я планирую выдрать 14шт оптронов (правда один я уже сжег

так что 13. но это все равно с запасом на случай если они вздумают начать выгорать).
и в них же есть платки БП собранные на микросхеме вроде KA2S0880. может быть попробую на ней что нить смакетировать, проверить как следует и тогда уж заказывать комплектуху под окончательный вариант. но это опять выливается в кучу времени...
либо психануть и найти транс поболее и намотать на него 7 обмоток и ниипать мосх. но этот вариант мне тоже не шибко нравится. найти транс и намотать 4 обмотки а потом сделать низковольтный преобразователь для оптодров - тоже коряво.
Re: Оптодрайверы для DRSSTC
Posted: 27 Oct 2012, 15:33
by BSVi
74AC05 ты включил немного не так. Посмотри - диод катодом на землю, а анодом на питание через резистор, а микруха шунтирует его.
А в чем питаться от UTC коряво? У тебя токи там мизерные, не выдумывай. Сетевой импульсник спроектировать действительно не просто. Вообщем, я бы брал 18 вольт из UTC и преобразовывал его импульсным трансформаторчиком в 4 развязанных.
Re: Оптодрайверы для DRSSTC
Posted: 27 Oct 2012, 15:47
by misterio
я так понял микруха и должна шунтировать диод, получается инвертирование. так в даташите нарисовано
https://docs.google.com/viewer?a=v&q=ca ... MAHzK4gpSg рисунок 25.
правда если подумать - то это потенциально может быть опасно открыванием все ключей одновременно...
Re: Оптодрайверы для DRSSTC
Posted: 27 Oct 2012, 15:59
by Qic
Для UTC я использую 3 вот таких
http://www.transistor.ru/catalog/reference/010383/
Как-то я находил схему его, сейчас не могу найти. Вроде там все достойно. При желании шунтируется выпрямитель и выпрямляется уже где надо с удвоением или утроением. Дешево и сердито.
ЗЫ Надо свой кстати пошаманить, а то наверное 3 штуки это дофига.
Re: Оптодрайверы для DRSSTC
Posted: 27 Oct 2012, 16:05
by BSVi
то это потенциально может быть опасно открыванием все ключей одновременно...
Да, я говорил про это выше. Дело в том, что сигнал инвертируется два раза - первый раз микрухой, второй - выходным каскадом. По идее, все должно быть нормально.
Re: Оптодрайверы для DRSSTC
Posted: 27 Oct 2012, 16:33
by misterio

поправил. теперь при нуле на входе силовуха выключена. (вроде

)
Re: Оптодрайверы для DRSSTC
Posted: 27 Oct 2012, 17:08
by BSVi
Да, вот это похоже на правду

Теперь осталось разобраться с питанием.
Re: Оптодрайверы для DRSSTC
Posted: 27 Oct 2012, 17:36
by misterio
и всетаки от самопального сетевого импульсника я пожалуй откажусь.
значит импульсник будет низковольтный и его надо от чего то питать. питать его от 18В UTC не хочется ибо в UTC полезут помехи с импульсника. да и если уж изолировать так изолировать по полной программе.
значит надо питать от дополнительной обмотки трансформатора. но ее не куда намотать. и нужен еще один источник.
учитывая все вышесказанное можно сделать так - с трансформатора снимаются все обмотки нафиг, мотается 24В для UTC тонким проводом ибо ток небольшой. а оставшееся место занимает жирная обмотка питающая импульсник. так помехам с импульсника пролезть в UTC будет особенно сложно. а уже импульсник сделает 4 по 18В и 2 по 12В. и вполне может быть стабилизированным.
правда тогда коряво выходит что все питается от стабилизированного источника а UTC от нестабилизированного трансформатора...
по идее можно и UTC запитать от стабилизированного низковольтного импульсника, но тогда на него сильнее полезут помехи с оптодров и с самого импульсника. да и надежность импульсника будет х.з. какой ибо самопал. если сгорит силовуха или индикация с вентиляторами - это одно. а если импульсник дурканет и сожгет UTC будет оооооочень обидно.
такие вот делемы блин.
а пока я думаю что и от чего запитать надо и с импульсником определяться.
чето не хочется тупо ирку ставить...
давным давно я как то набрасывал схемку простенького преобразователя.

раньше она мне нравилась. надо повспоминать что здесь к чему и как работает да может и собрать ее нафиг. она хоть стабилизированная и судя по всему какая то защита по току есть. надо покурить даташитнег наверное...
Re: Оптодрайверы для DRSSTC
Posted: 27 Oct 2012, 18:37
by BSVi
А чем ирка плоха? Дело в том, что иметь источник с оптопарой - это не очень хорошо, через нее будет лезть та самая синфазная помеха, а так как оптопара тут работает в линейном режиме, будет совсем плохо. Другое дело - тупой трансформатор на ИРке, через него помехе пролезть намного сложнее, да и стабилизация у тебя обеспечится стабилитронами. Особо большего тока тебе, кстати, тоже не нужно, вполне хватит 100мА на драйвер.
В крайнем случае можно поставтиь еще один трансформатор. Перематаыватывать трансформаторы - вообще неблогодарное занятие. Вообщем, я бы взял отдельный трансформатор, и поставил бы ИРку.
Re: Оптодрайверы для DRSSTC
Posted: 27 Oct 2012, 20:07
by misterio
ну тогда уговорил

но запитать преобразователь все равно от отдельной обмотки. и тогда уж от стабилизатора, чтоб выход был тоже более менее стабильный.
правда мне не очень нравится полумост на 12В. это на трансформаторе всего 6В будет...
Re: Оптодрайверы для DRSSTC
Posted: 27 Oct 2012, 20:25
by BSVi
Да, похоже все правильно. Единственное, может начать греться стабилизатор 7812, а так - можно собирать. Еще можно небольшой резисторчик поставить после вторичек трансформатора, чтобы КЗ через стабилитроны случайно не устроить.
Re: Оптодрайверы для DRSSTC
Posted: 27 Oct 2012, 21:47
by misterio
собирать пока рано.
надо определиться с комплектухой и с тем где ее заказывать.
ну а потом заказывать, ждать, разводить печатку, собирать, тестить...
Re: Оптодрайверы для DRSSTC
Posted: 28 Oct 2012, 10:28
by misterio
посидел пошуршал по магазинам.
в элитане нашел все кроме выходников FDD8424. они там есть но отгрузка 20 дней. но нашел им замену
AOD609 вроде тоже не плохие. сделал заказ на FDD8424 в двух конторах. если от них ни чего не придет - закажу все в элитане. если не отговорит ни кто.
ACPL-P343 вообще ни где не нашел чтоб удобно было купить. есть в элитане но 20 дней отгрузка и 200р денех. жуть. так что пока оставляю свои HCNW3120.
преобразователь все таки переделал на 24В питание. не охото мне 6В на трансформаторе иметь и греть 12В стабилизатор. поставил на ирку мелкий стабилизатор на 12В а на силовую часть 24В.
транзисторы подобрал в элитане
IRFR014 вроде подойти должны.
резисторов в затворы закажу нескольких номиналов и буду экспериментально подбирать лучший вариант.
итого, если ни чего не изменится в понедельник я либо дождусь предложений от двух магазов по FDD8424, либо закажу все в элитане.

Re: Оптодрайверы для DRSSTC
Posted: 28 Oct 2012, 11:04
by misterio
я тут еще подумал...
а может стоит притянуть входы CD74HC05 к земле? для пущщей спокойности и помехозащищенности.
Re: Оптодрайверы для DRSSTC
Posted: 28 Oct 2012, 13:14
by BSVi
Входы подтянуть никогда не помешает. Хотя, думаю, что бесполезно. Транзисторы AOD609, похоже, даже получше - они быстрее и затворы у них легче. Бедт меньше сквозняка.
IRFR014 там не нужны, можно постаить просто два транзистора в so8 корпусе, там серъезных токов не будет. Стабилизатор для IR2153 можно заменить резистором - внутри микрухи есть стабилитрон. Но это уже мелочи. Остальное все правильно.
Еще, что может понадобится - одеть ферритовую бусинку на вход (и сигнал и землю) трансформатора преобразователя, но с этим уже можно по ходу разобраться.
HCNW3120 мне не очень нравится - у нее искажения ширины сигнала аж 300нс и разброс тоже такой. Их, конечно, можно подстроить UTC, но всеравно не красиво. А скорости нарастания в 500нс может не хватить для того, чтобы выходной каскад быстро переключился. Кроме того, производитель их до 50кГц рекомендует.
Как вариант могу предложить
HCPL3180, но у этого CMR не такой впечатляющий - 10kV/us вместо 25kV/us у твоего, зато остальные параметры приличные. Есть такой-же, но от faichild'а, немного получше
FOD3180, 15kV/us.
Как-то прикольно, вроде, архиважный прожект - хорошие оптодрайвера, а мы тут одни
